欢迎访问算命久久网

算命久久网 算命久久网算命久久网

干货∣输电线路检修实用技术,巡检作业经验分享

时间:2024-09-28 13:56 分类:电气技术

作者结合历年来的线路巡检实际经验,总结出了导地线、杆塔、绝缘子等处日常检修时的注意事项,为后续线路检修作业带来了极大的方便,从而为电网的安全运行奠定了基础。

表1 输电线路检修的主要项目及周期

输电线路导、地线检修方法应视其表面状况和损伤程度来确定。一般导、地线断股及损伤减少截面积的处理标准见表2。如果导、地线表面腐蚀,外层脱落或呈疲劳状态,应取样进行强度试验。若试验值小于原破坏值的80%,则应换线。

导地线断股、损伤检修的一般方法有以下几种:①修光棱角、毛刺;②缠绕补强法;③预绞丝补修法;④补修管补修法;⑤切断重接。采用预绞丝停电修补导线时,应注意防高空坠落、防止物体打击、防触电等危险点。

表2 导地线断股、损伤减少截面积的处理方案

3 杆塔检修

输电线路杆塔长期运行在野外,受大气环境及地形、地貌的变迁影响,杆塔会出现各种各样的缺陷。混凝土杆最常见的缺陷有流白浆、裂纹、连接抱箍锈蚀、混凝土剥落、钢筋外露、杆身弯曲和倾斜;铁塔最常见的缺陷有塔材锈蚀、连接螺丝松动、塔脚混凝土保护帽开裂、塔材弯(扭)曲、塔身倾斜以及塔脚支链锈裂。根据杆塔缺陷性质可采取调整杆塔、高空更换杆段、电杆加高等检修方法。

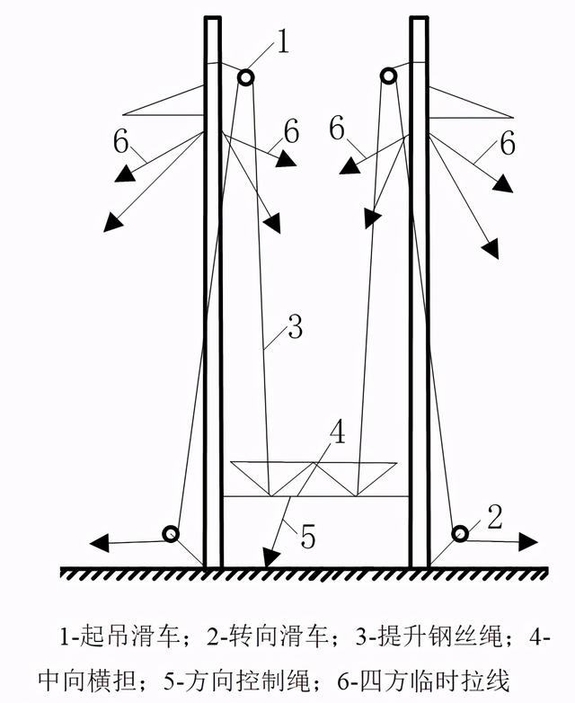
图1 高空更换门型双杆上段施工布置图

在需要更换的电杆顶部,打好四方临时拉线,以保证该杆拆除拉线和横担顶架后的稳定性。在被更换的杆段距杆顶500mm处,分别在杆段两侧安装好两套起吊钢绳,用以吊装抱杆。

利用独脚抱杆上的起吊滑车组吊紧被更换的杆段,并在其下端适当位置打好控制绳,以防钢箍接头割开后杆段晃动。利用抱杆上的滑车组提升新杆段到顶部,调整杆段上的控制大绳,使焊口对齐,在焊缝间垫入焊条,使之保持一定的间隙。

打好新杆段四方临时拉线,通过临时拉线将杆身调直后在四周点焊定位,再进行焊接,焊接好后杆身应垂直。安装好永久拉线,拆除新杆段四方临时拉线,安装好横担,恢复导、地线。

4 拉线、叉梁和横担检修

输电线路运行后,因受自然环境、外力破坏等各种因素的影响,杆塔拉线出现锈蚀、散股、断股;横担出现歪扭、构件缺损、锈蚀变形;叉梁出现弯曲、鼓肚、露筋等缺陷。根据缺陷性质采用更换拉线、横担、叉梁等措施。

图2 停电更换叉梁施工现场布置图

停电更换杆塔叉梁应注意以下事项:首先松紧牵引绳时,要防止转向滑车脱出,应及时进行检查,牵引绳内角侧禁止站人。其次,所更换完的叉梁,螺栓连接应紧密,组合后应正直,不得有明显的弯曲、鼓肚。再次,所使用的工器具必须严格检查,严禁超载使用。最后,牵引钢丝绳在绞磨卷筒上的卷绕圈数不得少于五圈,绳尾受力,并设专人看管。

4.2 停电更换横担

在起吊、牵引过程中,受力钢丝绳的周围、上下方、转向滑车内角侧和起吊物的下面,禁止有人逗留或通过。牵引时,不准利用树木或外露岩石做受力桩。一个锚桩上的临时拉线不准超过两根,临时拉线不得固定在有可能移动或其他不可靠的物体上。

杆塔上下无法避免垂直交叉作业时,应做好防落物伤人的措施。当部件组装有困难时,应查明原因,禁止强行组装。个别部件需扩孔时,扩孔部分不应超过3mm,当扩孔需要超过3mm时,应先堵焊再重新打孔,并进行防锈处理,严禁使用气割扩孔或烧孔。图3所示为更换横担施工布置图

4.3更换拉线

更换后拉线的机械强度不得低于原设计标准,并采取防盗措施。监护人应严格监护杆塔上作业人员的活动趋向和活动范围,发现不规范的动作行为和违章时,应及时提醒、纠正和制止,监护人员不得擅自离开岗位。拉线与拉棒应呈一直线。

图3 更换横担施工现场布置图

X型拉线的交叉点处应留有足够的空隙,避免相互磨碰;拉线应无金钩、散股、松股等现象。组合拉线的各根拉线受力应一致。拉线做头时,用木榔头敲击线夹时注意力应集中,手抓稳,落点正确,防止伤手。展放拉线时应两人配合,顺绞展放,防止弹伤。起吊材料及拉线时应绑扎牢固并慢慢吊递。

5 绝缘子、金具更换

输电架空线路经过一段时间运行后,绝缘子和金具因种种原因会造成各种缺陷,为确保输电线路的健康水平必须安排检修消缺。但是因线路绝缘子串和金具有不同的型号和组合形式,各地有各自的检修习惯,检修作业方法有很多,故检修作业方法没有固定的模式。

更换绝缘子危险点有高空坠落、触电、物体打击及工器具失灵,导线脱落,绝缘子串脱落,挂线二连板挤伤人、现场作业安全监护等。新更换的绝缘子爬距应能满足该地区污秽等级要求。

耐张绝缘子串上的螺栓、穿钉、锁紧销均由上向下穿;当使用W锁紧销时,绝缘子大口均应向上;当使用R锁紧销时,绝缘子大口均应向下,特殊情况可由内向外,由左向右穿入。新旧绝缘子串上下时,要使用绝缘子方向控制绳,防止绝缘子串碰撞横担及其它部件。

6 接地装置检修

输电线路杆塔的接地装置包括引下线、引出线、接地网等。线路运行后受地形、地貌及外部环境等因素影响,出现接地体锈蚀(包括杆塔接地引下线、埋入地中的地网引出线、接地网)、假焊、地网外露、外力破坏撞击、被盗等缺陷。

垂直接地体应垂直打入,并防止晃动。接地引下线与杆塔的连接应接触良好。如引下线直接从架空地线引下时,引下线应紧靠杆身,每隔3m左右与杆身固定一次。

改造后所测量的接地电阻值应满足考虑季节系数换算后的要求。接地绝缘电阻表放置平稳,摇动摇柄速度为120r/min。接地体应尽可能采用热镀锌钢材。焊接处必须做好防腐措施。遥测接地电阻时电流接地探针和电压接地探针应插在与线路垂直的方向。

7 总结

目前,国家电网公司投入运行的生产管理系统(PMS)提供了丰富的输电线路基础信息,但是基础信息的获得是靠现场检修巡视人员采集得来的,本文首先讨论了输电线路的各部分检修及维护周期,然后根据多年现场实际经验,讨论了导地线、杆塔、拉线、横担、叉梁、绝缘子和接地装置等七部分的检修实用技术。为后续线路检修作业带来了极大的方便,从而为电网的安全运行奠定了基础。

(编自《电气技术》,标题为“输电线路检修实用技术”,作者为李俊防、盛从兵 等。)

架空输电线路无人机巡检作业技术 ¥29.6 购买

更新于:2024-09-28 13:56
塔尊佛教网|借视频之舟,渡烦恼之海 Tazun.Cn佛教音乐网 - 海量佛乐、梵呗、禅音在线试听与下载经书网 - 以音声作佛事,聆听与观想的修学园地 jingshu.net佛教导航 - 开启智慧之旅,连接十方法缘 | fjdh.org.cn智慧莲华 - 赋能寺院数字化升级,打造智慧弘道平台趣知道 - 提问与分享,人人都是知识分享家 | Quzhidao.Com地藏孝亲网--南无大愿地藏王菩萨给农网地藏经顺运堂 - 专业家居风水布局,八字命理分析,助您家宅兴旺,运势亨通弘善佛教网-传播正信正知佛法的佛教网站国学在线 - 国学网,国学学校,国学经典,国学地图品读名篇佳句,涵养诗意人生 - 古诗词网哦嘿养殖网 - 热门乡村养殖发展项目_养殖技术知识分享生死书 - 佛教文化传承与生命智慧探索平台地藏论坛-佛教网络净土_佛法综合社区生死书生死书